오~!!!
이번 아이폰 12도 단 1도 땡기지 않았는데... 폴더블 탐난다...
저게 나와야 내 아이폰 XS MAX를 보내주지 않을까 싶다.....
요~~~
디스플레이 픽셀로 화면 온도 조절...2023년 출시 전망

애플 폴더블 아이폰 콘셉트 이미지. 사진=트위터/@EveryApplePro
애플이 폴더블폰 내구성을 높일 방법을 연구하고 있다.
IT 전문매체 애플인사이더는 9일(현지시각) 애플이 미국 특허청(USPTO)에 '유연한 디스플레이를 갖춘 전자 장치'라는 이름으로 새로운 특허를 등록했다고 보도했다.
특허는 추운 날씨에 깨지기 쉬운 '폴더블 디스플레이'를 보호하는 방법을 보여준다. 크게 두 가지 방법이다. △발열체를 추가하거나 △디스플레이 자체 픽셀을 조합해 사용자가 화면을 구부리거나 접기 전 온도를 높인다.

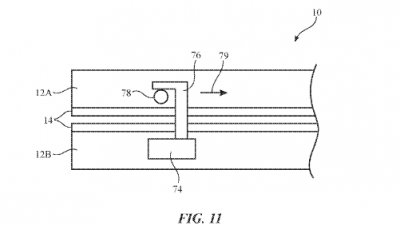
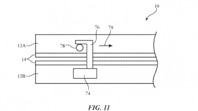
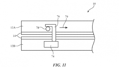
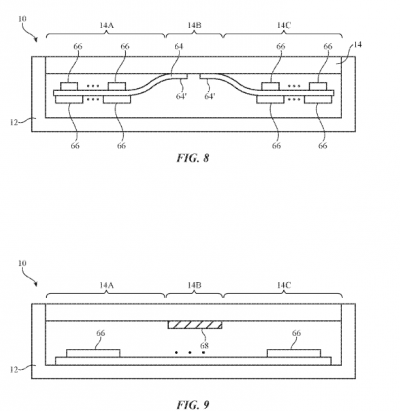
래치로 안전해질 때까지 화면을 닫아둘 수 있다. 사진=미국특허청
내장된 센서는 현재 온도·상태에서 디스플레이를 접었다 펴는 것이 안전한지를 판단할 수 있다.
손상 요인이 감지되면 시스템은 사용자에게 경고를 보낸다. 화면 온도가 안전한 수준이 될 때까지 물리적으로 아이폰을 열지 못하게 할 수도 있다.

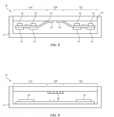
발열체·전도체로 화면 특정 지점 온도를 높일 수 있다. 사진=미국특허청
가장 간단한 방법은 디스플레이 아래 내구성이 취약한 지점에 발열체를 추가하는 것이다. 단점은 새로운 구성 요소(발열체) 추가로 공간을 차지하고 장치 설계에 영향을 준다.
특허는 대안으로 '디스플레이 자체'를 이용하는 방법을 제시한다. 애플은 "화면이 빛을 발산할 때 부산물로 열도 방출된다"며 이를 디스플레이에 적용할 수 있다고 설명했다.

스크린 세이버가 밝기를 조절해 온도를 유지한다. 사진=미국특허청
특허에 따르면 센서는 먼저 온도 조절이 필요한 화면 영역을 파악한다. 다음으로 주변의 픽셀을 밝게 만들어 열을 발생시킨다. △스크린 세이버(화면 보호기) △그래픽 시스템을 이용해 화면 온도를 높이는 방법도 포함됐다.

폴더블 아이폰 콘셉트 이미지. 사진=트위터/@EveryApplePro
애플은 지난 2016년부터 꾸준히 폴더블폰 관련 기술 특허를 출원하고 있다.
애플이 개발 중인 폴더블 아이폰은 두 종류인 것으로 알려졌다. 삼성 △갤럭시Z폴드 같이 좌우로 접는 형태와 △갤럭시Z플립 같이 위아래로 접는 클램쉘(조개껍데기) 형태다.
업계는 애플이 이르면 2023년 폴더블폰을 출시할 것이라는 전망이다. 밍치궈 TF 인터내셔널 애널리스트는 "펼쳤을 때 7.5~8인치 대화면"이라며 "아직 초기 단계로 연구·개발을 진행 중"이라고 전했다.
출처 - 전자신문
링크 - news.naver.com/main/read.nhn?mode=LSD&mid=sec&sid1=104&oid=030&aid=0002932479
'폴더블 아이폰' 준비 착착...애플, 플렉시블 디스플레이 특허 등록
애플이 폴더블폰 내구성을 높일 방법을 연구하고 있다. IT 전문매체 애플인사이더는 9일(현지시각) 애플이 미국 특허청(USPTO)에 '유연한 디스플레이를 갖춘 전자 장치'라는 이름으로 새로운 특허
news.naver.com
'Cry 관심 News' 카테고리의 다른 글
| SKT, 이베이코리아 인수전 참여 공식화 (0) | 2021.03.16 |
|---|---|
| "넷플릭스 지고, 디즈니 뜬다"..콘텐츠 대형주 엇갈린 전망 (0) | 2021.03.15 |
| SK텔레콤 T map 데이터 무료 혜택 종료 안내 (0) | 2021.03.12 |
| 쿠팡 가치 7배 껑충 '잭팟' (0) | 2021.03.11 |
| 애플, 라이트닝 포트 대체할 새로운 마그네틱 커넥터 특허 출원 (0) | 2021.03.09 |
| '철수설' LG폰 빚 7조6천억.. 상반기내 매각 가능성 무게 (0) | 2021.03.08 |
| "OLED 아이패드·맥북, 내년에 나온다” (0) | 2021.03.05 |
| 펜촉 길어진 3세대 애플펜슬...새 아이패드와 짝꿍? (0) | 2021.03.04 |